 
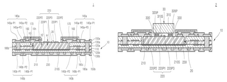
				설립 후 특허 출원: 3건
 
				| NO | 발명의 명칭 | 출원/등록일 | 출원/등록번호 | 비교 | 
|---|---|---|---|---|
| 1 | 단차가 있는 캐비티 기판을 이용하는 적층 패키지 및 이의 제조 방법 | 출원 2020-06-24 | 출원 1020200078909 | 심텍과 공동특허 출원 | 
| 2 | 캐비티 내에 실장된 칩을 구비하는 적층 패키지 및 이의 제조 방법 | 출원 2020-06-26 | 출원 1020200078454 | |
| 3 | 브릿지 패턴을 구비하는 인쇄회로기판 및 이의 제조 방법 | 출원 2020-11-27 | 출원 1020200162871 | |
| 심텍과 공동개발협약(JDA)을 통한 공동 특허 출원으로 R&D 사업 추진 중 | ||||
- 산학연 공동개발 추진 사례 (1)
Large Scale panel Level Package
Basement Setup for Panel Type Embedded Device
Higher Economies for Scale

Embedding Device
LTE IC(12inch Wafer) for Wireless Connectivity Modules
Trace Width(Min 10um), Space(Min 10um) / 20Pitch

Solder Ball Anaysis
Cross-section analysis Avg. Ball Height: 98.89um

Structure Analysis
Total Thickness of PLP : 500.5um

